Product Summary
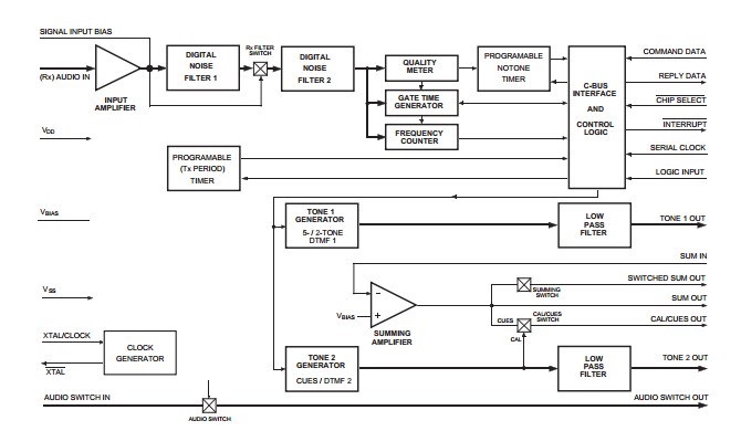
The FX803LS is an audio signalling Processor ,as part of the DBS 800 System, this audio signaling processor will provide an inband tone signalling facility for PMR radio systems. Signalling systems supported include Selcall (CCIR, ZVEI I, II and III, EEA), 2-Tone Selcall and Dual Tone Multi-Frequency (DTMF) encode.Using a non-predictive tone decoder and versatile encoders gives the FX803LS capability to work in any standard or non-standard tone system.
Parametrics
FX803LS absolute maximum ratings: (1)Supply voltage:-0.3 to 7.0V; (2)Input voltage at any pin (ref VSS = 0V):-0.3 to (VDD + 0.3V); (3)Sink/source current :supply pins:+/- 30mA;other pins:+/- 20mA; (4)Total device dissipation @ TAMB 25°C :800mW Max.; (5)Derating: 10mW/°C; (6)Operating temperature range: -40°C to +85°C (plastic); (7)Storage temperature range: -40°C to +85°C (plastic).
Diagrams

![]() |
![]() FX802 |
![]() Other |
![]() |
![]() Data Sheet |
![]() Negotiable |
|
||||
![]() |
![]() FX803 |
![]() Other |
![]() |
![]() Data Sheet |
![]() Negotiable |
|
||||
![]() |
![]() FX805 |
![]() Other |
![]() |
![]() Data Sheet |
![]() Negotiable |
|
||||
![]() |
![]() FX806A |
![]() Other |
![]() |
![]() Data Sheet |
![]() Negotiable |
|
||||
![]() |
![]() FX809 |
![]() Other |
![]() |
![]() Data Sheet |
![]() Negotiable |
|
||||
(China (Mainland))








