Product Summary
The MC1563R is a three terminal negative regular designed to deliver continous load current up to 500 mAdc and provide a maximum negative input voltage of -40V. Output current capability can be increased to greater than 10A through use of one or more external transistors. Specifications and performance of the MC1563R negative voltage regulator are nearly identical to the MC1563R negative voltage regulator. For systems requiring both a positive and negative power supply, this device is excellent for use as complementary regulators and offer the advantage of operating with a common input ground.
Parametrics
MC1563R absolute maximum ratings: (1)Input voltage, VI: -40V; (2)Load current-peak, IL: 600mA; (3)Current, Pin 2, I2: 10mA; (4)Power dissiopation and thermal characteristice, TA= 25℃, PD: 2.4Watts; Derate abrove, TA= 25℃ , 1/RθJA: 16mW/℃; thermal resistance, junction to air, RθJA: 62℃/W; TC= 25℃, PD: 9.0 Watts; Derate above, TC= 25℃, 1/RθJC: 61mW/℃; thermal resistance, junction to case, RθJA: 17℃/W; (5)Operating and storage junction temperature range, Tj, Tstg: -65 to +150℃.
Features
MC1563R features: (1)Case is at Ground Potential(R package); (2)Electronic Shutdown and short circuit protection; (3)Low output impedance- 20 millionhms typical; (4)High power capability- 9.0 watts; (5)Excellent temperature stability- △VO/△T= ±0.002%/℃ typical; (6)High ripple rejection- 0.002% typical; (7)500mA current capability.
Diagrams

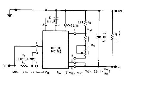
![]() |
![]() MC1507 |
![]() Other |
![]() |
![]() Data Sheet |
![]() Negotiable |
|
||||||||||||
![]() |
![]() MC15-3-A |
![]() Condor / SL Power |
![]() Linear and Switching Power Supplies 15V @ 3A |
![]() Data Sheet |
![]()
|
|
||||||||||||
![]() |
![]() MC154K1C |
![]() AVX |
![]() Specialty Ceramic Capacitors CAP 100V .15 |
![]() Data Sheet |
![]() Negotiable |
|
||||||||||||
![]() |
![]() MC1558 |
![]() Other |
![]() |
![]() Data Sheet |
![]() Negotiable |
|
||||||||||||
![]() |
![]() MC1558N |
![]() STMicroelectronics |
![]() Operational Amplifiers - Op Amps Hi PERFOM DUAL OP AMP |
![]() Data Sheet |
![]()
|
|
||||||||||||
![]() |
![]() MC1590G |
![]() Other |
![]() |
![]() Data Sheet |
![]() Negotiable |
|
||||||||||||
(China (Mainland))










