Product Summary
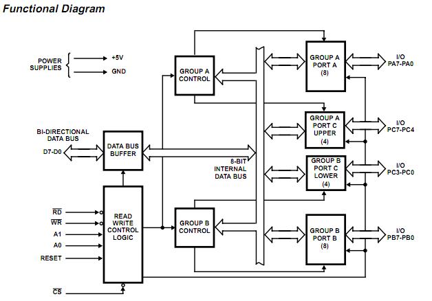
The 8406602QA is a high performance CMOS version of the industry standard 8255A and is manufactured using a self-aligned silicon gate CMOS process (Scaled SAJI IV). It is a general purpose programmable I/O device which may be used with many different microprocessors. There are 24 I/O pins which may be individually programmed in 2 groups of 12 and used in 3 major modes of operation. The high performance and industry standard configuration of the 8406602QA make it compatible with the 80C86, 80C88 and other microprocessors.
Parametrics
8406602QA absolute maximum ratings: (1)Supply Voltage: +8.0V; (2)Input, Output or I/O Voltage: GND-0.5V to VCC+0.5V; (3)Voltage Range: +4.5V to 5.5V.
Features
8406602QA features: (1)Pin Compatible with NMOS 8255A; (2)24 Programmable I/O Pins; (3)Fully TTL Compatible; (4)High Speed, No Wait State Operation; (5)Direct Bit Set/Reset Capability; (6)Enhanced Control Word Read Capability; (7)L7 Process; (8)2.5mA Drive Capability on All I/O Ports; (9) Low Standby Power (ICCSB): 10μA.
Diagrams

![]() |
![]() 8406 |
![]() Heyco |
![]() Cable Mounting & Accessories 1" BLACK STRAIGHT |
![]() Data Sheet |
![]()
|
|
||||||||||||||
![]() |
![]() 8406 010100 |
![]() Belden Wire & Cable |
![]() Multi-Conductor Cable 24AWG 3C SHIELD 100ft SPOOL BLACK |
![]() Data Sheet |
![]()
|
|
||||||||||||||
![]() |
![]() 84060001 |
![]() |
![]() SSR SMART MOD FOR HOCKEY PUK PKG |
![]() Data Sheet |
![]()
|
|
||||||||||||||
![]() |
![]() 8406-0010 |
![]() Coto Technology |
![]() Reed Relay REED RELAY |
![]() Data Sheet |
![]() Negotiable |
|
||||||||||||||
![]() |
![]() 8406010150 |
![]() Laird Technologies |
![]() EMI Gaskets & Grounding Pads UFSF BeCu BF PSA RL 0.375X0.062in PerFT |
![]() Data Sheet |
![]()
|
|
||||||||||||||
![]() |
![]() 840603-000 |
![]() |
![]() CABLE 24AWG SHIELDED |
![]() Data Sheet |
![]() Negotiable |
|
||||||||||||||
(China (Mainland))










