Product Summary
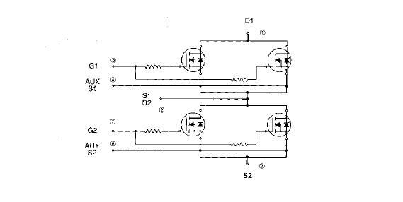
The IRFK2D450 is an isolated base power HEX-pakTM assembly. The HEX-pakTM utilises the well-proven HEXFETTM die, combining low on-state resistance with high transconductance. This superior technology die is assembled by state of the art techniques into the TO-240 package, and the IRFK2D450 features 2.5kV rms isolation and solid M5 screw connections. The smail footprint means the package is highly suited to power applications where space is a premium.
Parametrics
IRFK2D450 absolute maximum ratings: (1)Continuous drain current, LD at TC= 25℃: 22A; (2)Continuous drain current, LD at TC=100℃: 14A; (3)Pulse drain current, IDM: 88A; (4)Maximum power dissioation, PD at TC=25℃: 500W; (5)Gate-to-source voltage, VGS: 20V; (6)R.M.S. isolation voltage, circuit to base, VINS: 2.5kV; (7)Operating junction temperature range, TJ: -40 to 150℃; (8)Storage temperature range, TSTG: -40 to 150℃.
Features
IRFK2D450 features: (1)High current capability; (2)ULrecognised E78996; (3)Electrically isolated base plate; (4)Easy assembly into equipment.
Diagrams

| Image | Part No | Mfg | Description | ![]()  | 
                            Pricing (USD)  | 
                            Quantity | ||||
|---|---|---|---|---|---|---|---|---|---|---|
![]()  | 
                            ![]() IRFK2D450  | 
                            ![]() Other  | 
                            ![]()  | 
                            ![]() Data Sheet  | 
                            ![]() Negotiable  | 
                            
                            	 | 
                      ||||
| Image | Part No | Mfg | Description | ![]()  | 
                            Pricing (USD)  | 
                            Quantity | ||||
![]()  | 
                            ![]() IRFK2D450  | 
                            ![]() Other  | 
                            ![]()  | 
                            ![]() Data Sheet  | 
                            ![]() Negotiable  | 
                            
                            	 | 
                      ||||
![]()  | 
                            ![]() IRFK3D450  | 
                            ![]() Other  | 
                            ![]()  | 
                            ![]() Data Sheet  | 
                            ![]() Negotiable  | 
                            
                            	 | 
                      ||||
![]()  | 
                            ![]() IRFK4HE50  | 
                            ![]() Other  | 
                            ![]()  | 
                            ![]() Data Sheet  | 
                            ![]() Negotiable  | 
                            
                            	 | 
                      ||||
 (China (Mainland)) 
                         
                        
                                    







