Product Summary
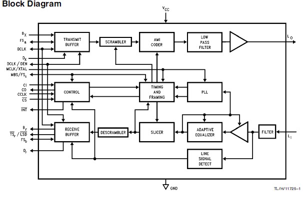
The TP3406V is a complete monolithic transceiver for data transmission on twisted pair subscriber loops. The TP3406V is built on Nationals double poly microCMOS process, and requires only a single +5 Volt supply. Alternate Mark Inversion (AMI) line coding, in which binary 1s are alternately transmitted as a positive pulse then a negative pulse, is used to ensure low error rates in the presence of noise with lower emi radiation than other codes such as Bi-phase (Manchester). The applications of the TP3406V are used in PBX Line Cards, Terminals, regenerators.
Parametrics
TP3406V absolute maximum ratings: (1)VCC to GND:7V; (2)Voltage at Li, Lo:VCC+1V to VSS-1V; (3)Voltage at any Digital Input:VCC+1V to VSS-1V; (4)Storage Temperature Range:-65℃ to +150℃; (5)Current at Lo:±100 mA; (6)Current at any Digital Output:±50 mA; (7)Lead Temperature (Soldering, 10 sec.):300℃; (8)ESD (Human Body Model):2000V.
Features
TP3406V features: (1)2 B plus D channel interface for PBX U Interface; (2)144 kb/s full-duplex on 1 twisted pair using Burst Mode; (3)Loop range up to 800 meters (Y24AWG); (4)Alternate Mark Inversion coding with transmit filter and scrambler for low emi radiation; (5)Adaptive line equalizer; (6)On-chip timing recovery, no external components; (7)Standard TDM interface for B channels; (8)Separate interface for D channel; (9)2.048 MHz master clock; (10)Driver for line transformer; (11)4 loop-back test modes; (12)Single +5V supply; (13)MICROWIRETM compatible serial control interface; (14)Available in 28-pin PLCC Package.
Diagrams

| Image | Part No | Mfg | Description | ![]()  | 
                            Pricing (USD)  | 
                            Quantity | ||||||||||||
|---|---|---|---|---|---|---|---|---|---|---|---|---|---|---|---|---|---|---|
![]()  | 
                            ![]() TP3406V/NOPB  | 
                            ![]()  | 
                            ![]() IC ADAPTER DIG QDASL QUAD 28PLCC  | 
                            ![]() Data Sheet  | 
                            ![]() Negotiable  | 
                            
                            	 | 
                      ||||||||||||
| Image | Part No | Mfg | Description | ![]()  | 
                            Pricing (USD)  | 
                            Quantity | ||||||||||||
![]()  | 
                            ![]() TP3401  | 
                            ![]() Other  | 
                            ![]()  | 
                            ![]() Data Sheet  | 
                            ![]() Negotiable  | 
                            
                            	 | 
                      ||||||||||||
![]()  | 
                            ![]() TP3402  | 
                            ![]() Other  | 
                            ![]()  | 
                            ![]() Data Sheet  | 
                            ![]() Negotiable  | 
                            
                            	 | 
                      ||||||||||||
![]()  | 
                            ![]() TP3403  | 
                            ![]() Other  | 
                            ![]()  | 
                            ![]() Data Sheet  | 
                            ![]() Negotiable  | 
                            
                            	 | 
                      ||||||||||||
![]()  | 
                            ![]() TP3404  | 
                            ![]() Other  | 
                            ![]()  | 
                            ![]() Data Sheet  | 
                            ![]() Negotiable  | 
                            
                            	 | 
                      ||||||||||||
![]()  | 
                            ![]() TP3404V  | 
                            ![]() National Semiconductor (TI)  | 
                            ![]() ISDN Interface  | 
                            ![]() Data Sheet  | 
                            ![]() 
  | 
                            
                            	 | 
                      ||||||||||||
![]()  | 
                            ![]() TP3404V/63  | 
                            ![]() National Semiconductor (TI)  | 
                            ![]() ISDN Interface  | 
                            ![]() Data Sheet  | 
                            ![]() 
  | 
                            
                            	 | 
                      ||||||||||||
 (China (Mainland)) 
                         
                        
                                    








